По умолчанию, якоря на параграфы страницы генерируются в VSCode в нижнем регистре. Гиперссылки работают нормально при просмотре страниц непосредственно в репозитории github, но при просмотре в электронной книге mdbook, эти гиперссылки не открываются. Для того чтобы они работали, необходимо чтобы регистр якорей ссылки совпадал с регистром параграфов страницы. --------- Co-authored-by: Andrei Solodovnikov <voultboy@yandex.ru>
19 KiB
Лекция 21. Микроконтроллеры
Содержание
Микроконтроллер — это устройство, которое объединяет в себе процессор и ряд периферийных устройств и занимается управлением.
Электронные устройства можно условно разделить на несколько категорий:
- Различные встраиваемые системы (которые куда-то встраиваются; например, встроенные в микроволновку, холодильник или телевизор)
- Системы общего назначения (персональные компьютеры, ноутбуки, мобильные телефоны)
В 70-х годах компанией Texas Instruments произведен первый патент на тему микроконтроллеров: "Организация микро-ЭВМ на одной микросхеме". Фактически контроллер является микро-ЭВМ (системой, которая объединяет процессор, периферийные модули, память команд, память данных).
Контроллеров выпускается на порядок больше, чем процессоров общего назначения. Микроконтроллеры используются везде (в игрушках, микроволновках, клавиатурах, мышках и т.д.). Микроконтроллеры есть в устройствах, которые производятся серийно, поэтому стараются сделать так, чтобы контроллер умел выполнять свои задачи и каждый его элемент стоил минимальную цену.
Контроллеры бывают различной разрядности.
- 8-битные. Они используются для решения простых задач (например, для сравнения каких-то параметров);
- 16-битные. Они используются для более сложных задач, чем 8-битные, где нужна большая точность (например, для управления каким-то двигателем);
- 32-битные контроллеры выполняют какие-либо вычисления: решают алгоритмы, проводят анализ сигналов.
Чтобы проверить, подходит ли данный контроллер для устройства, можно купить его и самому проверить, а можно купить отладочный комплект (starter kit или учебный комплект).
Микроконтроллеры на примере PIC
Существуют различные семейства микроконтроллеров PIC. Они отличаются специализацией под определенные устройства и задачи.
Например в контроллерах семейства PIC16F19197 предусмотренно управление LCD-дисплеем.
Рассмотрим семейство PIC16F18446 (используется для подключения сенсоров, имеет низкое потребление энергии, маленький форм-фактор). Контроллеры данного семейства устанавливаются в маленькие устройства (может быть с батарейным питанием), которые получают значения с датчиков.
Помимо процессорного ядра на микросхеме находятся различные периферийные устройства. Например:
- 12-битные аналого-цифровые преобразователи (для преобразования непрерывного во времени аналогового сигнала, в котором информация кодируется в виде уровня напряжения, в цифровой сигнал, который кодируется ноликами и единичками);
- Компараторы (сравнивают аналоговые сигналы друг с другом);
- Конфигурируемые логические ячейки (CLC или Configurable Logic Cell);
- Флеш память программ, основная память;
- EEPROM (электрически перезаписываемая программируемая память);
- PWM (Pulse-width modulation или широтно-импульсная модуляция);
- Waveform generator (генерирует сигналы);
- Цифро-аналоговый преобразователь (ЦАП или DAC) и другие.
Микроконтроллеры внутри рассматриваемого семейства отличаются размером памяти, количеством ножек, аналогово-цифровых преобразователей и максимальной аналогово-цифровой разрешающей способностью.
PIC16F18313
Рассмотрим микроконтроллер PIC16F18313. В документации можно узнать, что это за контроллер и что он умеет.
Например:
- это RISC контроллер, поддерживающий 48 инструкций;
- его входная тактовая частота — 32 MHz, минимальный тактовый цикл — 125 ns (величина критического пути);
- Он имеет C-компилятор, систему прерываний, 16-уровневый стек для вызова подпрограмм, четыре 8-битых таймера, Watchdog Timer (когда таймер досчитывает до конца, он сбрасывает микроконтроллер, то есть перезапускает его. Он нужен для того, чтобы избежать зависаний во время работы) и т.д.
Данный микроконтроллер имеет 3 конфигурации: с 8-ю, 14-ю и 16-ю ножкам.
Рис. 1. Микроконтроллер PIC16F18313 с 8-ю ножками.
Для каждой конфигурации имеется табличка, в которой расписано, для чего может использоваться каждый конкретный вывод.
Рис. 2. Таблица подключения периферийных устройств для микроконтроллера PIC16F18313 с 8-ю ножками.
Рис. 3. Схема микроконтроллера PIC16F18313.
У данного контроллера мы видим CPU (центральный процессор), Timing Generator, который формирует сигналы тактирования. Микроконтроллер выполнен по Гарвардской архитектуре, то есть у него разделена память команд и память данных. Порты ввода-вывода, периферийные устройства и память данных подключены к CPU общей шиной данных.
Для подключения микроконтроллера PIC16F18313 нужно между пинами питания (VDD (высокий потенциал) и VSS (нулевой потенциал или земля)) поставить конденсатор C2, а на вход MCLR собрать схему (Note 1).
Рис. 4. Рекомендуемое минимальное подключение микроконтроллера PIC16F18313.
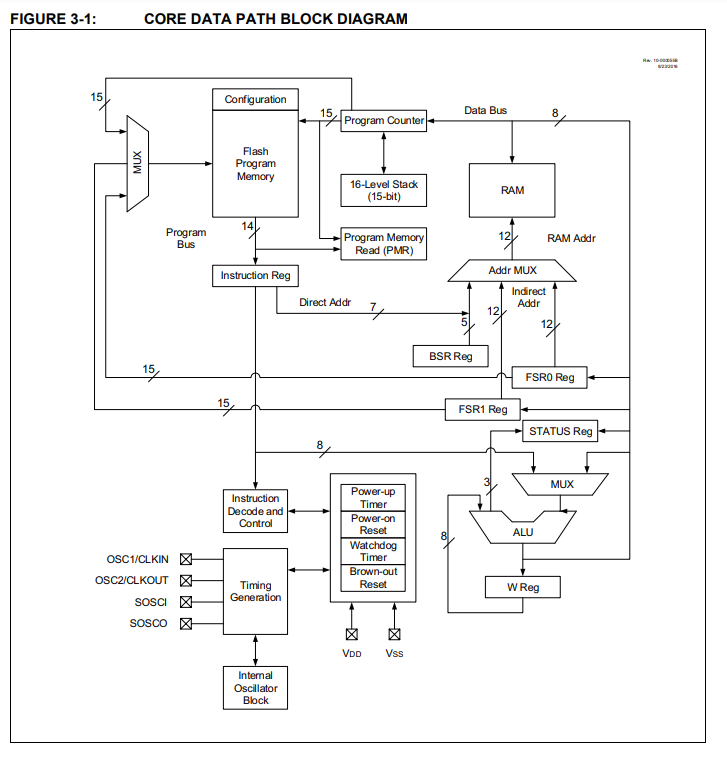
Рис. 5. Тракт данных ядра (микроархитектура).
Память программ, на которую указывает PC. Из нее выходит 14-битная инструкция, которая попадает в регистр инструкций. Данные из регистра используются для адресации в RAM и в устроистве управления (Instruction Decode and Control), которое формирует управляющие сигналы для всех блоков процессора.
Также мы видим аккумуляторную архитектуру, то есть один из входов АЛУ — это регистр аккумулятор (W Reg).
Управление системой происходит по обращению к конкретным адресам:
Рис. 6. Адреса регистров.
Рис. 7. Форматы кодирования для микроконтроллера PIC16F18313.
Пример программирование 32-битного контроллера PIC. Для этого, после подключения питания (Bypass capacitors), подаем тактирование (SG636PCE 40MHz oscillator), подключаем микроконтроллер к программатору (RJ11 ICD3 Jack).
Рис. 8. Схема подключения PIC32.
Программатор одной стороной подключается к микроконтроллеру, а другой к компьютеру.
Рис. 9. Программатор.
Рис. 10. Пример кода, для отладки микроконтроллера.
Микроконтроллеры на примере ARM
Посмотрим 32-битный ARM микроконтроллер STM32H723VE.
Видим, что у данного контроллера ядро Cortex-M7, он работает на частоте 550 MHz, имеет 1 MB флэш-памяти, 564 KB оперативной памяти.
Рис. 11. Характеристики микроконтроллера STM32H723VE.
Ядро умеет работать с числами с плавающей запятой.
Контроллер может работать с графикой, имеет режим low power (низкого энергопотребления), аналоговую периферию, 4 DMA (прямой доступ к памяти), 24 таймера, термометр, генератор случайных чисел.
Рис. 12. Схема микроконтроллера STM32H723VE.
В верхнем левом углу видим ядро, у которого отдельные кэш данных и кэш инструкции. Из него выходят наружу интерфейсы JTAG и ETM.
К ядру подключены 2 блока памяти данных, память инструкций.
У микроконтроллера много различных шин, работающих на разных скоростях, что необходимо для увеличения эффективности питания и работы. Например, периферия работает на более низких скоростях, а значит для нее нет необходимости делать лишние тактирования, которые происходили бы на высокоскоростной шине.
Программа для микроконтроллера stm32f10x на языке C
Данная программа управляет миганием светодиода, подключенного к 5 разряду порта B:
#include "stm32f10x.h" //библиотека, созданная производителем микроконтроллеров
int main() {
int i = 0;
RCC->APB2ENR |= RCC_APB2ENR_IOPBEN // включили тактирование порта B
GPIOB->CRL &= ~GPIO_CRL_CNFS; // сконфигурировали порт, как выходной
GPIOB->CRL |= GPIO_CRL_MODES_0; // задали скорость переключения порта
while(1){
i = 5000;
while(i--); // уменьшает i до нуля
GPIOB->BSRR = GPIO_BSRR_BS5; // установить 5 разряд порта B в единицу
i = 5000;
while(i--);
GPIOB->BSRR = GPIO_BSRR_BR5; // установить 5 разряд порта B в ноль
}
}
Рис. 13. Структурная организация ARM7.
ARM7 — это классический представитель ядер для микроконтроллеров.
Он включает в себя:
- Конвейер команд, подключенный к декодеру команд, который управляет всеми блоками тракта данных процессора;
- 32-битное АЛУ, которое может записывать в регистровый файл либо выдавать свое значение на регистр адреса, чтобы обращаться к основной памяти;
- Регистровый файл, один из регистров которого счетчик команд (PC), второй подключен к АЛУ.
У ARM7 старая архитектура. Она развивалась и появились новые ядра. Например, ARM9.
В него входят:
- Регистровый файл;
- Множество мультиплексоров, которые выбирают откуда и что пойдет на АЛУ;
- АЛУ;
- Shifter.
Рис. 14. Структурная организация ARM9.
Cortex-A9 — более современное, чем ARM7 и ARM9, ядро. Он еще может встречаться в контроллерах.
У Cortex-A9 есть:
- Кэш команд;
- Блок предсказания переходов:
- Глобальный буфер истории (Global history register);
- Кэш конечных адресов перехода (Branch target buffer). В нем кэшируется адрес, куда будет произведен переход;
- Стек адресов возврата;
- Блок переименования регистров(переименование нужно для суперскалярности, устранения конфликтов read-after-write, write-after-write);
- Окно диспетчеризации (очередь команд общая и она диспетчеризует куда пойдет следующая инструкция);
- Исполнительные устройства (АЛУ с умножением, АЛУ, FPU — Floating Point Unit и другие).
Рис. 15. Схема работы Cortex-A9.
Современные реализации микроконтроллеров могут включать в себя несколько ядер.
Рис. 16. Cortex-A7 и Cortex-A15.
При использовании двух ядер, одно может быть менее производительным чем другое, но при этом потреблять меньше энергии и использоваться в сценариях, где не нужна высокая эффективность. Переключения между ядрами позволяет балансировать между затратами на энергию и производительностью.
Основные материалы лекции
- Ссылка на видеозапись лекции.















